吊 環 計 算
(計算するを押すと、3回答えが出ます。計算が全て【十分】となった時、使用してください。)
この計算は1つの目安なので 吊環強度計算の参考での使用御願いします。
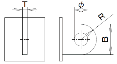
また、吊環を全周溶接で計算してます。また、左図の引っ張り方向が左右の場合
は、強度が弱くなるので 絶対に、この計算は使わないで下さい。
重量は安全率(静荷重1.5~2倍、繰り返し荷重2.5~4倍、衝撃荷重12倍 程度)をかけ 加えて計算して下さい。

強度計算のボタンを押すとせん断応力τ、引張り応力δt、溶接のど厚、溶接長さの3つの計算結果が出ます。
τ、δt、溶接長さの3つが全て【十分】となったとき、使用して下さい。